Summary:
TP series digital display timer is a new generation of preset timer launched by our company. TP series digital display timer adopts single chip microcomputer with excellent performance as the main control part, featuring high precision, wide timing range, multiple timing working modes (6 kinds), digital display, clear keyboard operation, permanent storage of preset data in power outage, strong anti-interference performance,beautiful appearance and other characteristics.
Specifications:
Model | Output configuration | Overall dimensions (mm)H×W×L | The size of hole(mm)H×W×L | Insert depth mm |
TPD-1££ | Group 1, group 2 optional (with instantaneous) | 72×72×75 | 68×68 | 65 |
TPG-1££ | Group 1 (with instantaneous), group 2 optional | 48×48×86 | 45×45 | 78 |
Spectrum:
Control panel:
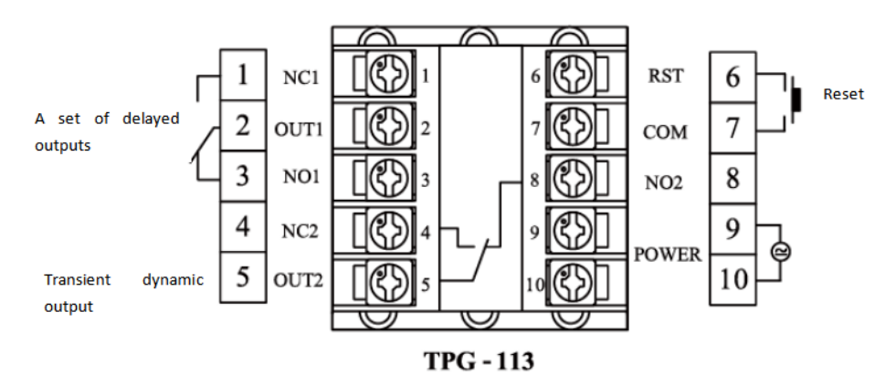
Terminal:



